Kurbelgriffe
HM-3 THREE-BALL CRANK LEVERS

handle Included değildir.
Diğer handle seçenekleri için lütfen index bölümüne bakınız.
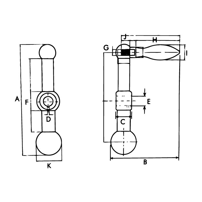
| Code No | A | B | C | D | E | F | G | H | handle Includeddir |
I | J | K | Grayp | Weight |
| HM-3S | 94 | 72 | 18 | - | M14 | 28 | M6 | 45 | 1132-HZ-M6 | 16 | 8 | 25 | X | 0,20 kg |
| HM-3M | 127 | 93 | 22 | - | M14 | 36 | M8 | 62 | 1132-HZ-M8 | 20 | 10 | 32 | X | 0,40 kg |
DATEIEN
Kurbelgriffe


DE 
TR
EN
RU
AR
FA
HE
EL
BG
ES
PL
HU
RO
CS
FR
ZH








